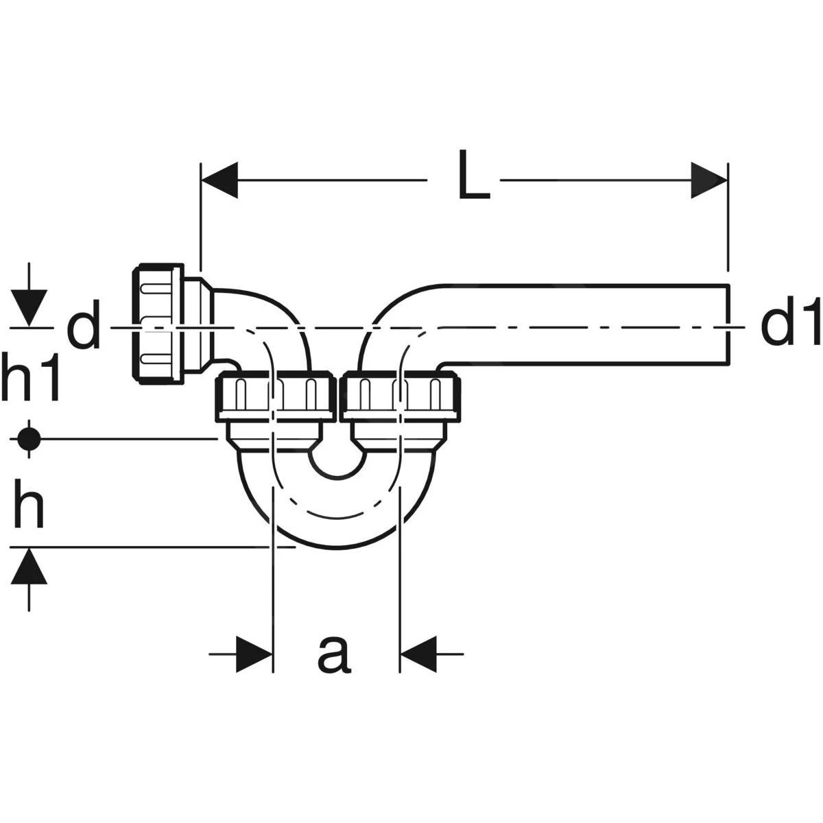
Chiusura anti-odori per lavello, con il raccordo a compressione
- ingresso/uscita orizzontale
- capacità di portata: 0,84 l/s
- altezza della presa dell’acqua 75 mm
- materiale PE-HD
- gomito di collegamento con dado a bussola
- dimensioni: d = 50 mm, d1 = 50 mm
- L = 200-300 mm
- h = 65 mm, h1 = 80 mm
- DN 50/50

















Recensioni
Ancora non ci sono recensioni.